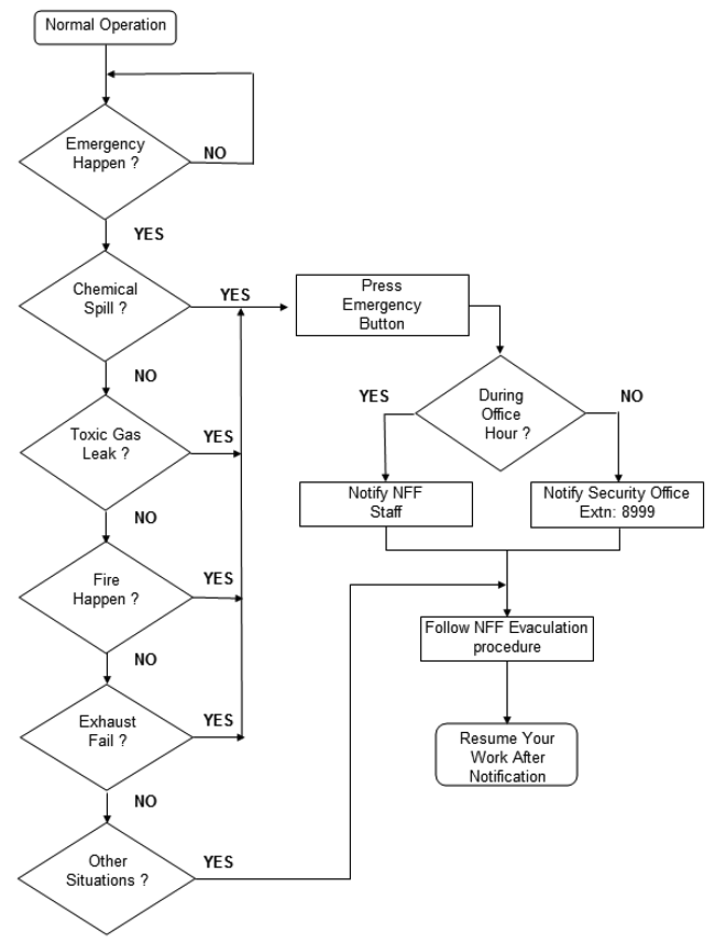
Emergency Responses
The NFF (CWB) Emergency Response Plan tells you what to do in an emergency. NFF (CWB) users should familiarize themselves with the plan before commencing work in the NFF (CWB) and should act accordingly when an emergency occurs. The following contact points are also given in the Plan.
| Name | Phone | Mobile |
|---|---|---|
| Mr. Man Wai LEE / NFF (CWB) | 7900 / 7896 | 96217708 |
| Mr. Chun Keung WONG / NFF (CWB) | 7226 / 7896 | 97531662 |
| Mr. Chun Fai YEUNG / NFF (CWB) | 7219 / 7896 | 96573572 |
| CMO (for facilities problems) | 6565 | |
| Security Control Centre (for emergencies; available 24-7) | 8999 | |
| In case of serious injury or fire | 9999 | |
| Police | 9999 |
According to the general fire emergency procedure of HKUST, all fires must be reported to the Security Control Center immediately. If someone is injured, dial 9999 for the police before calling NFF (CWB) staff. If there is a facility problem that does not pose an immediate danger to laboratory users but may result in equipment damage, dial the number for NFF (CWB) staff or CMO, but do not call the police.
Users are reminded to always dial 9999 when there is a potentially life-threatening situation (e.g. injury, fire, dangerous gas leakage. If the NFF (CWB) needs to be evacuated, an alarm and an emergency evacuation message will be broadcasted via the public address system.
Emergency Response Plan
